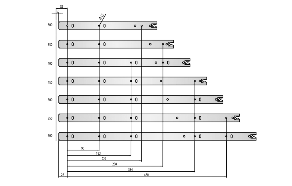
GUIA BOLAS H45 EXTRACCION TOTAL L350 MM. CINCADO (JGO.)

https://fergarcia.com/web/image/product.template/1402/image_1920?unique=c45be99
Unidades/Caja:
  • 15 unidades

No está disponible para venta

  • L mm

Esta combinación no existe.

L mm: 350

Referencia interna: 4714535